AT-B Parts
AT-B 構成パーツ
一覧
製品を探す
- 全ての製品
- ワイヤーロープ
- ターミナルナット
- ターミナル接続金具
-
stainless steel wire rope
ステンレスワイヤーロープ
-
構成1×19
材質:SUS316
素線が太く強度があるため、ワイヤー手摺に適しています。


製品図
-
構成7×7
材質:SUS304,SUS316
7x19より硬く、直線での使用に適しています。
※セルフシリーズ[AT-S]には選定不可です。

製品図
-
構成7×19
材質:SUS304,SUS316
素線径が細いため、軟らかいので、ワイヤークリップの使用に適しています。
※セルフシリーズ[AT-S]には選定不可です。

製品図
ワイヤー長さの選定目安
ワイヤーロープの長さは、以下の表にしたがって選定していただくと施工やメンテナンスの際に扱いやすくなります。
ワイヤー長さの目安(ワイヤーテンショナー1本あたり)
ワイヤー径 φ3 φ4 φ5 φ6 φ8 ワイヤー長さ 最長3M 最長4M 最長5M 最長6M 最長8M -
-
Terminal nut
ターミナルナット
-
ターミナルナット
材質:SUS316
ターミナルナット右・左ねじをそれぞれ寸切ボルトの右・左ねじに合わせ、右左一緒に回してワイヤーを緊張します。


製品図
-
ターミナルナット(スイベル付)
材質:SUS304+316
スイベル(撚り戻し)機能があることで、片側ずつ右ねじだけで回して、スムーズにワイヤーを緊張できますので、施工性が抜群です


製品図
-
ターミナルナット(カバー付)
材質:SUS304+316
ターミナルナットにカバーを付けることで、ねじ部分を見せずにすっきりとした印象に仕上げることが可能です。


ターミナルカバー
-
-
Metal fittings
ターミナル接続金具
[ターミナルナット]・[ターミナルナット(スイベル付)]用
材質:SUS316(寸切ボルト・六角ナット・袋ナット・平座金=SUS304)
各部においてワイヤーをかしめた[ターミナルナット]、または[ターミナルナット(スイベル付)]を接続します。
-
[水平]端部

-
[水平]連結部

-
[階段]端部

-
[階段-水平]連結部

-
[階段-階段]連結部

[ターミナルナット(カバー付)]用
材質:SUS316(寸切ボルト・六角ナット・袋ナット・平座金=SUS304)
各部においてワイヤーをかしめた[ターミナルナット]、または[ターミナルカバー]を接続します。
-
[水平]端部

-
[水平]連結部

-
[階段]端部

-
[階段-水平]連結部

-
[階段-階段]連結部

その他パーツ
-
ターミナルカバー
材質:SUS316
ターミナルナットと合わせて取り付け、ねじ部分を隠してすっきり見せることができます。
カバー、丸ナット、ダブルナットがセットになっています。

製品図
-
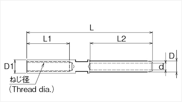
スルージョイント
材質:SUS316
ワイヤー手摺の階段連結部で、スルージョイントを使用してターミナル金具を連結します。
※L1寸法はご要望に合わせて製作可能です。

製品図

製品図
-
階段金具A
材質:SUS316
ワイヤー手摺の階段端部、階段―水平連結部では、階段金具Aを使用してターミナル金具を連結します。
※L2寸法はご要望に合わせてカット致します。

製品図

製品図
-
中間パイプ
材質:SUS316
止めねじ:SUS304ワイヤー手摺の中間支柱に中間パイプを通し、止めねじでワイヤーを固定できます。


製品図
-
寸切ボルト
材質:SUS304
ワイヤー手摺の水平端部、水平連結部では、寸切りボルトを使用してターミナルナットを連結します。
※記載価格は、カット200mm以下の価格です。
200mm以上についてはお問い合わせください。※L寸法は、ご要望に合わせてカットいたします。
最短50mm~最長1000mm
M5左ねじのみ最長285mm

製品図
-
フォークボルト
材質:SUS316(サイズM16B、M20はSUS304)
階段手摺にワイヤーを張る場合に、フォークボルトを階段金具A、またはスルージョイントに連結してワイヤー付ターミナルナットをねじ込む事でワイヤーを張設できす。また、フラットバーの貫通穴に通して使用することもできます。


製品図
-
平座金
材質:SUS304


製品図
-
袋ナット
材質:SUS304


製品図
-
六角ナット
材質:SUS304


製品図
-