Terminal fittings crimp type
ターミナル金具
(現場調整・施工型)
-
Product
ステンレスワイヤーロープとの組み合わせで、
無限に広がる豊富なバリエーションターミナル金具は、ステンレスワイヤーロープと組み合わせて使用します。
現場調整・施工型はこんな時にお選びください
- ワイヤーを張る際の正確な寸法が分かりにくい設置条件の場合。
- 設置時にワイヤーの長さを調整したい場合。
このマークが記載されている製品は、施工する際に、
設置現場の長さに合わせてワイヤーをカットして取り付けることが出来ます。
製品を探す
- 全ての製品
- SN、SBターミナル
- SLターミナル
-
sn sb terminal
SN、SBターミナル
-
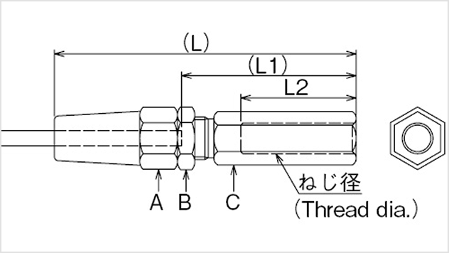
SNターミナル
材質:SUS316 止めねじ:SUS304
施工現場でワイヤーをカットして、ワイヤーとSNターミナルをねじ止めで固定します。


製品図

施工現場でワイヤーカットできます。
-
SBターミナル
材質:SUS316 止めねじ:SUS304
施工現場でワイヤーをカットして、ワイヤーとSBターミナルをねじ止めで固定します。


製品図

施工現場でワイヤーカットできます。
-
-
Sl terminal
SLターミナル
-
SLフォークターミナル
材質:SUS316 止めねじ:SUS304
施工現場でワイヤーをカットし、 金具でワイヤーをグリップして固定します。


製品図

施工現場でワイヤーカットできます。
-
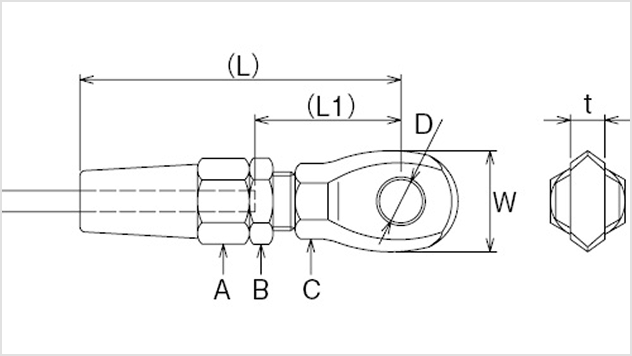
SLアイターミナル
材質:SUS316 止めねじ:SUS304
施工現場でワイヤーをカットし、 金具でワイヤーをグリップして固定します。


製品図

施工現場でワイヤーカットできます。
-
SLターミナルボルト
材質:SUS316 止めねじ:SUS304
施工現場でワイヤーをカットし、 金具でワイヤーをグリップして固定します。


製品図

施工現場でワイヤーカットできます。
-
SLターミナルナット
材質:SUS316 止めねじ:SUS304
施工現場でワイヤーをカットし、 金具でワイヤーをグリップして固定します。


ターミナルカバー

施工現場でワイヤーカットできます。
-